随着航天科技的发展,低温气动调节阀将获得越来越广泛的应用。下面我们一起来了解一下低温气动调节阀在航天科技应用中的要求及结构设计。
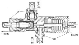
低温气动调节阀直接用于运载火箭,所以产品设计在满足用户要求的技术指标、环境条件、外形及接口条件下,还要求结构上工艺性好、质量小、体积小、可靠性高。根据低温气动调节阀总体技术指标要求,必须采用气动控制阀与单向阀的复合式结构。在轴向主阀体内采用升降式结构,弹簧力作用在主活门上,保证主活门的预紧力及主活门的复位;主密封部位采用金属“R”型面与氟塑料平面配合的软密封结构;打开方式为控制气通过导杆传导力打开主活门放气,撤掉控制气主活门通过弹簧自动关闭。结构图如图1所示。

4 结构设计
低温气动调节阀采用气动控制就存在导向密封,方式有活塞密封及波纹管密封,活塞密封必须有“O”形圈,低温气动调节阀的使用温度为190K~313K,相当于-83~+40℃。经查找有关资料,橡胶的使用温度的下限为-70℃,已超过本产品的使用温度下限,所以“O”形圈结构无法采用,因此,用“O”型橡胶圈密封的活塞作动器基本上不能使用,故只有采用金属波纹管作为动密封,金属波纹管作为动密封使用温度范围为-253~+600℃,完全满足要求。为调节波纹管组件的长度,装配时要求顶杆可以根据具体要求长度进行加工,以保证顶杆头距阀芯端面有0~0.5mm的间隙。顶杆直径为7~10mm,而顶杆头直径为3mm,顶杆铣成多棱,既保证波纹管内部通气又给波纹管组件导向。确保在任何情况下,阀芯开度为0.7mm,因此低温气动调节阀工作时,双波纹管组件总的压缩行程是0.7~1.2mm。另外,据以往经验,顶杆头直径为3mm,材料为F151、FS46作为密封材料是可行的。在-83~+40℃温度范围使用,配合间隙为H9/e9即可防止低温卡死。
充气活门采用升降式单向活门结构,弹簧力作用在付活门上,保证付活门的预紧力及付活门的复位;密封部位采用金属“R”型面与氟塑料平面配合的软密封结构,弹簧设计满足不大于0.5MPa的打开压差。活门密封结构示意图如图2所示。

由于软铝垫片硬密封结构不能满足低温密封结构,而聚四氟乙烯膨胀系数大,随着温度降低,氟塑料收缩量很大,会使密封性能下降,容易引起泄漏。为保证低温状态下的密封可靠性,产品的外密封部位均采用软铝垫片表面喷涂形式,其密封形式已经过大氢氧试验站用氢氧排气阀的试验验证,使用温度最低可至-190℃以下。
了解更多产品详情请登录http://www.zjcz-v.com